PE2-60-0R81R0-4R5-15-12-SFF Preliminary

Low Noise Amplifier

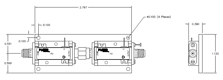
Quantic PMI Model PE2-60-0R81R0-4R5-15-12-SFF is a 0.8 to 1 GHz Low Noise Amplifier designed for military and industrial applications that provides 60 dB of gain while maintaining a gain flatness of ±0.75 dB over the operating frequency with a noise figure of 4.5 dB typical and offers an OP1dB of 15 dBm minimum. Overall package size is 2.797" x 1.12" x 0.39" and the individual amplifiers are supplied in our PE2 housing that can be used as an SMA connectorized or surface mounted component.

Product Specifications

General Parameters:
Status: Preliminary
Frequency Range (GHz): 0.8 to 1
Frequency Min (GHz): 0.8
Frequency Max (GHz): 1
Gain (dB): 60 dB Typ
Gain Flatness (dB): ±0.75 dB Max
Noise Figure (dB): 4.5 dB Typ
VSWR In/Out: 2.0:1
OP1dB (dBm): 15 dBm Min
DC Voltage: +12 to +15 VDC
DC Current Draw: 280 mA Max
Connectors: SMA Female - removable
Size: 2.797" x 1.12" x 0.39"
Housing: PE2
Export Classification (ECCN): EAR99
Environmental Ratings:
Temperature (Operating): -40 ºC to 85 ºC
Temperature (Non-Operating): -40 ºC to 100 ºC
Humidity: MIL-STD-202, Method 103B Cond. B
Shock: MIL-STD-202, Method 213B Cond. B
Vibration: MIL-STD-202, Method 204D Cond. B
Altitude: MIL-STD-202, Method 105C Cond. B
Temperature Cycle: MIL-STD-202, Method 107D Cond. A
categoriesall